主流级MCU-HK32C0家族,意想不到!揭开未来主流MCU新篇章!
- 分类:新闻中心
- 作者:
- 来源:金年会官方体育登录入口
- 2023年02月10日
【概要描述】2023年1月,金年会官方体育登录入口HK32隆重推出全新主流级MCU-HK32C0家族,揭开未来主流MCU新篇章!
主流级MCU-HK32C0家族,意想不到!揭开未来主流MCU新篇章!
- 2023-02-10
2023年1月,金年会官方体育登录入口HK32隆重推出全新主流级MCU-HK32C0家族,揭开未来主流MCU新篇章!

-
多种封装形式
-
3×3mm 20pin QFN,4×4mm 20/28/32pin QFN:微型封装,节省空间 -
SOP8, TSSOP20, LQFP32/48: 常用封装

-
多种应用方案
典型应用覆盖智能家电(如:空调、冰箱、洗衣机、烟机、咖啡机等),智能家居、智能锁、个护产品、便携电源、LED控制及调光、工业测距、车载多媒体、医疗手持设备等。为用户提供高可靠性、低能耗的同时降低成本,高兼容度设计等特点。
-
更高工艺、更高可靠性


HK32C0 家族产品特性图




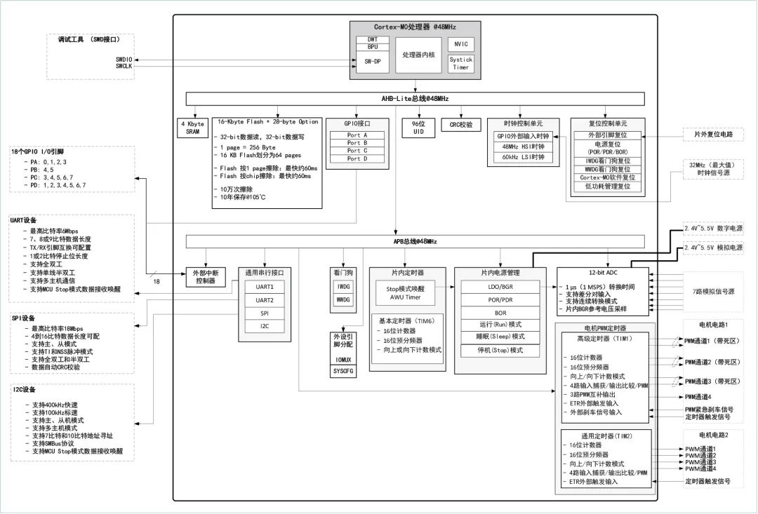
HK32F0301MxxxxC 系统架构图
×
-
-
-